Product Summary
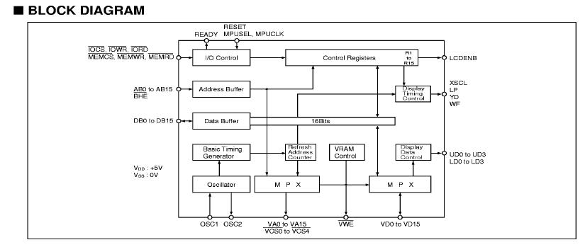
The SED1351FLB is a high-duty dot martrix graphic display LCD controller. The SED1351FLB can interface with an 8-bit or 16-bit MPU having a READY input pin. The SED1351FLB contains circuits that control all data and addresses for cycle steal operations and requires no external data/address control circuit.
Parametrics
SED1351FLB absolute maximum ratings: (1)supply voltage:VSS-0.3 to 7.0V; (2)input voltage:VSS-0.3 to VDD+0.3V; (3)output voltage:VSS-0.3 to VDD+0.3V; (4)output current:±10mA; (5)power dissipation:200mW; (6)supply current:±40mA; (7)storage temperature:-65 to 150℃; (8)soldering temperature and time:260℃, 10s.
Features
SED1351FLB features: (1)VRAM capacity:64k bytes; (2)LCD display modes: binary, gray; (3)LCD panel:single scan display, double scan display; (4)interface with MPU through use of ready signal; (5)capability of using virtual display panel; (6)smooth vertical scrolling; (7)chip select output for VRAM; (8)single power supply:5V±10%.
Diagrams

![]() |
![]() SED10HB45 |
![]() Other |
![]() |
![]() Data Sheet |
![]() Negotiable |
|
||||
![]() |
![]() SED10HE45 |
![]() Other |
![]() |
![]() Data Sheet |
![]() Negotiable |
|
||||
![]() |
![]() SED110LB30 |
![]() Other |
![]() |
![]() Data Sheet |
![]() Negotiable |
|
||||
![]() |
![]() SED110LE30 |
![]() Other |
![]() |
![]() Data Sheet |
![]() Negotiable |
|
||||
![]() |
![]() SED1180 |
![]() Other |
![]() |
![]() Data Sheet |
![]() Negotiable |
|
||||
![]() |
![]() SED1180F |
![]() Other |
![]() |
![]() Data Sheet |
![]() Negotiable |
|
||||
(China (Mainland))








