Product Summary
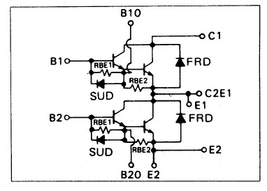
The 2DI150D-050C is a power transistor module. The applications of the device include high power switching, AC motor controls, DC motor controls and uninterruptible power supply.
Parametrics
2DI150D-050C absolute maximum ratings: (1)VCBO: 600V; (2)VCEO: 600V; (3)VCEO(SUS): 450V; (4)VEBO: 7V; (5)IC at DC: 150A; (6)ICP at 1ms: 300A; (7)-IC at DC: 150A; (8)IB at DC: 9A; (9)IBP at 1ms: 18A; (10)PC at one transistor: 690W; (11)PC at two transistors: 1380W; (12)Tj: +150℃; (13)Tstg: -40 to 125℃; (13)m: 340g; (14)Viso: 2500V; (15)mounting: 35Kg.cm; terminals: 35 Kg.cm.
Features
2DI150D-050C features: (1)including free wheeling diode; (2)high DC current gain; (3)insulated type.
Diagrams

![]() |
![]() 2DI150M-120 |
![]() Other |
![]() |
![]() Data Sheet |
![]() Negotiable |
|
||||
(China (Mainland))








