Product Summary
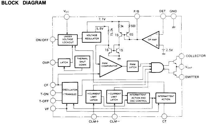
The M51977FP is an off-line primary PWM controller. It is especially designed for SMPS to get the regulated DC voltage from AC power supply. As the totempole tye high power-driver circuit is integrated in these IC, these IC can drive the MOS-FET with fast rise and fast fall output pulse.
Parametrics
M51977FP absolute maximum ratings: (1)VCC, supply votage: 31V; (2)VC, collector voltage: 31V; (3)IO, output current: ±2V; (4)VVF, VF terminal voltage: VCC; (5)Topr, operating temperature: -30 to 85℃; (6)Tj, junction temperature: 150℃.
Features
M51977FP features: (1)500kHz operation of MOSFET; (2)compact and light weight power supply; (3)simplified peripheral circuit with protection circuit and built-in large capacity totempole output; (4)high performance and highly functional power supply.
Diagrams

![]() |
![]() M51903L |
![]() Other |
![]() |
![]() Data Sheet |
![]() Negotiable |
|
||||||
![]() |
![]() M51943AGP |
![]() Other |
![]() |
![]() Data Sheet |
![]() Negotiable |
|
||||||
![]() |
![]() M51957BL |
![]() |
![]() IC VOLTAGE DETECTOR 5-SIP |
![]() Data Sheet |
![]() Negotiable |
|
||||||
![]() |
![]() M51957BL#TF0J |
![]() |
![]() IC VOLTAGE DETECTOR 5-SIP |
![]() Data Sheet |
![]()
|
|
||||||
![]() |
![]() M51970L |
![]() Other |
![]() |
![]() Data Sheet |
![]() Negotiable |
|
||||||
![]() |
![]() M51971FP |
![]() Other |
![]() |
![]() Data Sheet |
![]() Negotiable |
|
||||||
(China (Mainland))









